| |
Spray Gun Assembly - 225-0006 |
|
| RefNbr |
Part Number |
Description |
Req |
Notes |
| 000a |
225-0173 |
Spray gun assembly with 1/32 inch nozzle |
1 |
(assembly includes 001-005 and not shown) (OEM) |
| 000b |
991-3023 |
Spray gun assembly with 1/32 inch nozzle |
1 |
(NON-OEM) |
| 002 |
225-0087 |
Quick disconnect plug 1/4 |
1 |
|
| 003a |
225-0089 |
Idrojet nozzle |
1 |
|
| 003b |
991-3093 |
#2.0 variable nozzle |
1 |
|
| 004 |
225-0089 |
Idrojet nozzle |
1 |
|
| 005 |
225-0091 |
Nipple 1/4 close |
1 |
|
| N/S |
225-0090 |
Gun nozzle bearing |
1 |
|
| N/S |
225-0303 |
Mini ball valve |
1 |
|
|
|
Squeegee Tool Assembly - 225-0052 |
|
| RefNbr |
Part Number |
Description |
Req |
Notes |
| 001 |
225-0062 |
Plastic wheel |
2 |
|
| 002 |
225-0063 |
Wheel holder |
2 |
|
| 003 |
225-0064 |
Holder screw |
2 |
|
| 004 |
225-0017 |
14 1/2 inch squeegee tool with wheels |
1 |
(includes 001 and 004-006) |
| 005 |
225-0065 |
Squeegee blade 14 1/4 inch |
2 |
|
| 006 |
225-0546 |
Vac wand coupler (black) |
1 |
|
| 007 |
225-0067 |
Metal ring |
1 |
|
| 008 |
225-0547 |
Vac wand nut (black) |
1 |
|
| N/S |
225-0069 |
Glides |
2 |
(optional) (replaces wheel and wheel holder) |
| N/S |
225-0018 |
Aluminum vacuum wand (2 piece) |
1 |
|
| N/S |
225-0071 |
Stainless steel squeegee wheel with holder |
2 |
|
|
|
Pressure Hose Assembly - 225-0065 |
|
| RefNbr |
Part Number |
Description |
Req |
Notes |
| 000a |
225-0010 |
500PSI 45 foot pressure hose assembly (2 female connectors) |
1 |
(OEM) |
| 000b |
991-2429 |
1/4 inch 45 foot hose with fittings and valve |
1 |
(NON-OEM) |
| 001 |
225-0304 |
O-ring for 1/4 inch qd coupler |
1 |
|
| 002 |
225-0194 |
1/4 quick disconnect coupler |
1 |
|
| 003 |
225-0303 |
Mini ball valve |
1 |
|
| 004 |
225-0059 |
3/8 quick disconnect coupling |
1 |
|
| 005 |
225-0305 |
O-ring for 3/8 inch qd coupler |
1 |
|
|
|
Accessories - 225-0067 |
|
| RefNbr |
Part Number |
Description |
Req |
Notes |
| 001a |
225-0173 |
Spray gun assembly with 1/32 inch nozzle |
1 |
(OEM) |
| 001b |
991-3023 |
Spray gun assembly with 1/32 inch nozzle |
1 |
(NON-OEM) |
| 003 |
225-0004 |
Window squeegee |
1 |
|
| 004 |
172-2913 |
5 inch drain tool |
1 |
|
| 005 |
225-0037 |
Metering tip pack |
1 |
(includes (2) 225-0038, (2) 225-0041, (2) 225-0039, (2) 225-0040, (1) 225-0033, (1) allen wrench, and (1) chemical line cover) |
| 006 |
225-0041 |
Tan metering tips |
1 |
|
| 007 |
225-0040 |
Black metering tip |
1 |
|
| 008 |
225-0039 |
Aqua metering tip |
1 |
|
| 009 |
225-0038 |
Orange metering tips |
1 |
|
| 010a |
225-0297 |
33 foot slinky vacuum hose assembly |
1 |
(OEM) |
| 010b |
991-7122 |
33 foot vacuum hose with cuffs |
1 |
(NON-OEM) |
| 011 |
225-0134 |
50 foot vacuum hose assembly (OBSOLETE) |
1 |
|
| 012 |
225-0297 |
33 foot slinky vacuum hose assembly |
1 |
|
| 013 |
225-0005 |
Blow nozzle |
1 |
|
| 014a |
225-0010 |
500PSI 45 foot pressure hose assembly (2 female connectors) |
1 |
(OEM) |
| 014b |
991-2429 |
1/4 inch 45 foot hose with fittings and valve |
1 |
(NON-OEM) |
| 015a |
225-0253 |
Old 50 foot pressure hose assembly (1 male/female connector) |
1 |
|
| 015b |
225-0316 |
Pressure hose adapter |
1 |
(use to connect two pressure hoses together) |
| 016a |
225-0020 |
50 foot extension cord with GFCI (yellow) |
1 |
(OEM) |
| 016b |
991-7120 |
12/3 extension cord 50 foot with GFCI (yellow) |
1 |
(NON-OEM) |
| 017 |
208-0052 |
GFCI receptacle |
1 |
|
| 018 |
225-0019 |
2 Piece vacuum wand and squeegee head assembly |
1 |
|
| 019a |
225-0017 |
14 1/2 inch squeegee tool with wheels |
1 |
|
| 019b |
225-0065 |
Squeegee blade 14 1/4 inch |
1 |
|
| 020a |
225-0018 |
Aluminum vacuum wand (2 piece) |
1 |
|
| 020b |
225-0546 |
Vac wand coupler (black) |
1 |
|
| 020c |
225-0067 |
Metal ring |
1 |
|
| 020d |
225-0547 |
Vac wand nut (black) |
1 |
|
| 020e |
225-0538 |
Vacuum wand (1 piece) |
1 |
|
| 020f |
225-0547 |
Vac wand nut (black) |
1 |
|
| 020g |
225-0546 |
Vac wand coupler (black) |
1 |
|
| 022 |
225-0003 |
Deck brush (blue) (brush only) |
1 |
|
| 023 |
225-0006 |
Brush handle - HANDLE ONLY |
1 |
|
| 024 |
225-0405 |
Universal fill hose |
1 |
|
| 025 |
225-0336 |
Kai-grouter tool |
1 |
|
| 026 |
225-0414 |
Chemical bottle plug |
1 |
|
| 027 |
225-0434 |
28 inch squeegee assembly |
1 |
(education only) |
| 028 |
225-0441 |
8 inch swivel brush |
1 |
|
| 029 |
225-0479 |
Squeegee/brush tool |
1 |
|
| 030 |
225-0528 |
28 inch hard surface tool |
1 |
|
| 031 |
225-0529 |
Dry vac retro kit |
1 |
|
| 032 |
225-0530 |
KaiTurbine dry vac head |
1 |
|
| 033 |
225-0540 |
Carpet extraction brush |
1 |
|
| 034a |
225-0551 |
10 inch squeegee head with wheels |
1 |
|
| 034b |
225-0554 |
10 inch replacement squeegee blade |
1 |
|
| 035 |
225-0553 |
Ergo speed spreader |
1 |
|
| 036 |
N/A |
Not available |
1 |
(squeegee blade) |
| 037 |
225-0552 |
VAC BRUSH REPLACEMENT |
1 |
|
| 039 |
225-0436 |
Flip top cap |
1 |
|
| 040 |
225-0442 |
Telescopic brush handle |
1 |
|
| 041 |
225-0534 |
One piece vacuum wand with strap and grout brush |
1 |
|
| 042 |
225-0550 |
Long barrel pressure gun (OBSOLETE) |
1 |
|
| 043a |
225-0439 |
25 foot vacuum hose |
1 |
(OEM) |
| 043b |
991-7132 |
25 foot vacuum hose |
1 |
(NON-OEM) |
| 044 |
225-0593 |
45 foot slinky vacuum hose assembly |
1 |
|
| 045a |
225-0413 |
Deluxe carpet extractor wand |
1 |
|
| 045b |
991-8039 |
1/4 inch brass vee jet 11003 |
1 |
|
| 046 |
225-0589 |
ARAMARK Metering tip kit |
1 |
(includes (2) 225-0039, (2) 225-0040, (2) 225-0585, (2) 225-0586, (2) 225-0587, (2) 225-0588, (2) 225-0581 and instruction sheet) |
| 047 |
225-0125 |
Upholstery tool assembly |
1 |
|
| 048 |
225-0440 |
20 foot stretch vacuum hose |
1 |
|
| N/S |
225-0549 |
Check valve |
1 |
|
| N/S |
225-0651 |
Vacuum wand and hose kit |
1 |
|
| N/S |
225-0468 |
Gatling gun grouter complete |
1 |
|
| N/S |
225-0120 |
Stainless steel trigger valve |
1 |
(For the Gatling grouter tool wand) |
| N/S |
225-0070 |
Dry vacuum brush head |
1 |
|
| N/S |
225-1117 |
1250 accessory kit |
|
(1200 Series) |
|
|
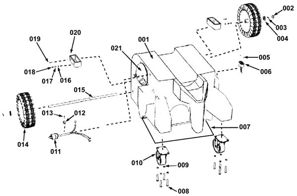
Base Assembly - 225-0082 |
|
| RefNbr |
Part Number |
Description |
Req |
Notes |
| 001 |
225-0392 |
Base assembly |
1 |
|
| 002 |
225-0025 |
Nut 5/8 push cap |
2 |
|
| 003 |
225-0235 |
Cotter pin |
2 |
|
| 004 |
999-0349 |
Washer 5/8 SAE flat |
2 |
|
| 005 |
997-1000 |
Pop rivet 1/8 x 5/8 |
2 |
|
| 006 |
225-0393 |
Hour meter |
1 |
|
| 007a |
225-0325 |
Bottom plate (OBSOLETE) |
1 |
(before SN 2247) |
| 007b |
225-0391 |
Bottom plate (OBSOLETE) |
1 |
(after SN 2246) |
| 008 |
999-0225 |
Screw 5/16-18 x 1 button head socket plain finish |
8 |
|
| 009 |
999-0028 |
Washer 5/16 split lock plain finish |
8 |
|
| 010 |
225-0255 |
5 inch caster wheel |
2 |
|
| 011a |
225-0375 |
12/3 pigtail cord with plug 22 inch |
1 |
(before SN 2247) |
| 011b |
225-0375 |
12/3 pigtail cord with plug 22 inch |
1 |
(after SN 2246) |
| 012 |
225-0176 |
3/8 inch cable clamp |
1 |
|
| 013 |
225-0012 |
Screw #8 self drilling |
1 |
|
| 014 |
225-0022 |
10 inch pneumatic wheel with 5/8 hub |
2 |
|
| 015 |
225-0024 |
Axle 5/8 x 23 inch |
1 |
|
| 016 |
999-0152 |
Nut 1/4-20 nylon insert lock zinc plated |
2 |
|
| 017 |
999-0123 |
Washer 1/4 SAE flat zinc plated |
2 |
|
| 018 |
999-0020 |
Bolt 1/4-20 x 3/4 hex head grade 5 zinc plated |
1 |
|
| 019 |
225-0012 |
Screw #8 self drilling |
1 |
|
| 021b |
225-0562 |
HEPA cover |
1 |
(after SN 2246) |
|
|
Pump Motor Assembly - 225-0083 |
|
| RefNbr |
Part Number |
Description |
Req |
Notes |
| 001 |
999-0424 |
Bolt 5/16-18 x 1 hex head stainless steel |
4 |
|
| 002 |
225-0107 |
5/16 u-nut |
4 |
|
| 003 |
225-0241 |
Hose barb 3/8 x 1/2 inch |
1 |
|
| 004 |
225-0165 |
Hose clamp |
1 |
|
| 005 |
225-0395 |
Water line |
1 |
|
| 006 |
225-0369 |
90 degree hose barb 3/8 inch |
1 |
|
| 007 |
225-0165 |
Hose clamp |
1 |
|
| 008 |
225-0396 |
Return water line |
1 |
|
| 009 |
225-0058 |
Pulse hose |
1 |
|
| 010 |
225-0372 |
Jumper wire (black) |
1 |
|
| 011 |
225-0371 |
Jumper wire (white) |
1 |
|
| 012 |
225-0059 |
3/8 quick disconnect coupling |
1 |
|
| 013 |
225-0421 |
Pump motor |
1 |
(motor, bracket and rectifier only) |
| N/S |
225-0332 |
Complete pump assembly |
1 |
(includes the pump head and motor) |
|
|
Vacuum Motor Assembly - 225-0084 |
|
| RefNbr |
Part Number |
Description |
Req |
Notes |
| 001 |
997-2003 |
Hose clamp |
1 |
|
| 002 |
225-0397 |
Vac motor hose |
1 |
|
| 003a |
997-2003 |
Hose clamp |
1 |
(before SN 1256) |
| 003b |
225-0127 |
Hose clamp |
1 |
(after SN 1257) |
| 004 |
999-0165 |
Bolt 1/4-20 x 4 hex head grade 5 zinc plated |
3 |
|
| 005 |
999-0123 |
Washer 1/4 SAE flat zinc plated |
3 |
(before SN 1256) |
| 006 |
N/A |
Not available |
1 |
(before SN 1256) Vac motor plate is no longer available. Customer will need to replace the vacuum motor with 225-0388 so hose will connect directly to the motor. |
| 007 |
225-0188 |
Gasket |
1 |
(before SN 1256) |
| 008a |
225-0388 |
120V 3 stage vacuum motor with inlet tube and gasket |
1 |
(OEM) (This now comes with a new float that has to be replace the existing float to maintain warranty. Remove the vacuum tank lid, then unscrew existing float - cylindrical wire mesh hanging from top and inside vacuum tank - Screw in the new float provided until snug) (includes 008c and 008d) |
| 008b |
225-2082 |
120V vac motor |
1 |
|
| 009 |
999-0152 |
Nut 1/4-20 nylon insert lock zinc plated |
3 |
|
| 010 |
225-0127 |
Hose clamp |
1 |
|
| 011 |
225-0400 |
Vac exhaust hose 18 inch |
1 |
|
| 012 |
225-0276 |
Motor bracket |
1 |
|
| 013 |
225-0012 |
Screw #8 self drilling |
1 |
|
|
|
HEPA Filter Assembly - 225-0085 |
|
| RefNbr |
Part Number |
Description |
Req |
Notes |
| 001 |
225-0357 |
Bolt 1/4 x 2 1/2 inch carriage head |
1 |
|
| 003 |
N/A |
Not available |
1 |
(HEPA housing and filter keeper) |
| 004 |
225-0236 |
Tank lid gasket |
1 |
|
| 005 |
225-0358 |
HEPA filter |
1 |
|
| 006 |
225-0359 |
1/4 inch coupling nut |
1 |
|
| 008 |
225-0360 |
Threaded stud |
1 |
|
| 012 |
225-0236 |
Tank lid gasket |
1 |
|
|
|
Control Panel Assembly - 225-0086 |
|
| RefNbr |
Part Number |
Description |
Req |
Notes |
| 000a |
225-0011 |
Electrical box and chemical line assembly (2 2-way switches) |
1 |
|
| 000b |
225-0429 |
Electrical box and chemical line assembly (1 2-way, 1 3-way) |
1 |
|
| 000c |
225-0074 |
Switch box (cover only) |
1 |
|
| 001 |
999-1123 |
Screw 1/4-20 x 4 flat head phillips stainless steel |
2 |
|
| 002 |
225-0403 |
Braided hose 1/4 inch x 2 ft |
2 |
|
| 003 |
225-0082 |
Hose clamp |
5 |
|
| 004 |
225-0048 |
1/4 inch chemical hose (sold by the foot) |
1 |
|
| 006 |
225-0083 |
90 degree straight elbow |
2 |
|
| 007 |
225-0054 |
Herc hose assembly |
2 |
|
| 008 |
225-0076 |
3 way chemical valve with knob |
1 |
|
| 009 |
225-0075 |
90 degree 1/8 inch male fitting |
3 |
|
| 010 |
225-0072 |
Rocker switch |
2 |
|
| 011 |
225-0084 |
Knob (black) |
1 |
|
| 012 |
999-0123 |
Washer 1/4 SAE flat zinc plated |
2 |
|
|
|
External Parts Assembly - 225-0087 |
|
| RefNbr |
Part Number |
Description |
Req |
Notes |
| 1 |
172-2913 |
5 inch drain tool |
|
|
| 2 |
225-0003 |
Deck brush (blue) (brush only) |
|
|
| 3 |
225-0004 |
Window squeegee |
|
|
| 4 |
225-0017 |
14 1/2 inch squeegee tool with wheels |
|
|
| 5 |
225-0018 |
Aluminum vacuum wand (2 piece) |
|
|
| 6 |
225-0043 |
Drain hose assembly |
|
|
| 7a |
225-0173 |
Spray gun assembly with 1/32 inch nozzle |
|
(OEM) |
| 7b |
991-3023 |
Spray gun assembly with 1/32 inch nozzle |
1 |
(NON-OEM) |
| 8 |
225-0325 |
Bottom plate (OBSOLETE) |
|
|
| 9 |
225-0339 |
75 foot x 3/8 inch pressure hose assembly |
|
(OEM) |
| 10 |
991-7131 |
75 foot x 1/4 inch pressure hose assembly |
|
(NON-OEM) |
| 12 |
225-0404 |
Fill hose adapter |
|
|
| 13 |
225-0405 |
Universal fill hose |
|
|
| 14 |
225-0020 |
50 foot extension cord with GFCI (yellow) |
|
|
|
|
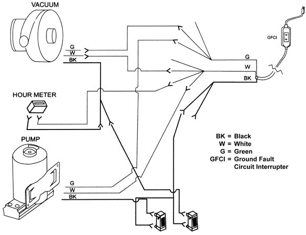
Wiring Diagram - Before SN 1257 - |
|
| RefNbr |
Part Number |
Description |
Req |
Notes |
|
|
Water Tank Assembly - 225-0090 |
|
| RefNbr |
Part Number |
Description |
Req |
Notes |
| 001 |
225-0013 |
Wrap and snap assembly |
2 |
|
| 003 |
225-0012 |
Screw #8 self drilling |
1 |
|
| 005 |
999-1124 |
Screw 8-32 x 3/4 flat head square stainless steel |
6 |
|
| 006 |
225-0344 |
Hose barb 3/8 inch brass |
1 |
|
| 007 |
225-0165 |
Hose clamp |
2 |
|
| 008 |
225-0331 |
Water line filter |
1 |
|
| 009 |
225-0241 |
Hose barb 3/8 x 1/2 inch |
1 |
|
| 010 |
225-0409 |
Water tank assembly |
1 |
|
|
|
Vacuum Tank Assembly - 225-0091 |
|
| RefNbr |
Part Number |
Description |
Req |
Notes |
| 001 |
225-0049 |
Float shut off assembly |
1 |
|
| 002 |
225-0093 |
2 inch plastic ball |
1 |
|
| 004 |
225-0095 |
Filter bag |
1 |
|
| 005 |
225-0050 |
Standpipe assembly |
1 |
|
| 006 |
225-0354 |
6 inch tank lid (black) |
1 |
(before SN 1257) |
| 007 |
225-0145 |
Screw 3/4 inch stainless steel |
6 |
(before SN 1257) |
| 008a |
225-0011 |
Electrical box and chemical line assembly (2 2-way switches) |
1 |
|
| 008b |
225-0429 |
Electrical box and chemical line assembly (1 2-way, 1 3-way) |
1 |
|
| 009 |
999-1124 |
Screw 8-32 x 3/4 flat head square stainless steel |
2 |
|
| 010 |
999-0350 |
Bolt 3/8-16 x 1 1/2 hex head grade 5 zinc plated |
1 |
|
| 012a |
225-0043 |
Drain hose assembly |
1 |
(before SN 2247) |
| 012b |
225-0043 |
Drain hose assembly |
1 |
(after SN 2246) |
| 013 |
997-2003 |
Hose clamp |
1 |
|
| 014 |
225-0410 |
Vacuum tank assembly |
1 |
(for Kaivac 2150, the customer needs to verify if they have a single or dual chemical model as this only works for dual models and there is no longer an option for the single chemical model) |
| 016 |
999-1124 |
Screw 8-32 x 3/4 flat head square stainless steel |
1 |
|
| 017 |
225-0236 |
Tank lid gasket |
1 |
|
| 018a |
225-0560 |
Jug holder vac lid assembly |
1 |
(after SN 1256 and before SN 2247) |
| 018b |
225-0560 |
Jug holder vac lid assembly |
1 |
(after SN 2246) |
|
|
--Simplified Recovery System - |
|
| RefNbr |
Part Number |
Description |
Req |
Notes |
|
|
--Simplified Solution System - |
|
| RefNbr |
Part Number |
Description |
Req |
Notes |
|
|
Dry Vacuum Assembly - After SN 1256 - 225-0100 |
|
| RefNbr |
Part Number |
Description |
Req |
Notes |
| 001 |
225-1015 |
Cover assembly with cover seal (OBSOLETE) |
1 |
|
| 002 |
225-0605 |
Cover latch |
1 |
|
| 003 |
225-1013 |
Dry vacuum housing |
1 |
|
| 004 |
997-1000 |
Pop rivet 1/8 x 5/8 |
3 |
|
| 005 |
225-0154 |
Rivet backup plate |
3 |
|
| 006 |
225-0525 |
Cloth filter bag |
1 |
|
| 007 |
225-0526 |
Paper filter bag |
1 |
|
| 008 |
225-1016 |
Plastic cap |
1 |
|
| 009 |
225-0236 |
Tank lid gasket |
1 |
|
|
|
Wiring Diagram - After SN 1256 - |
|
| RefNbr |
Part Number |
Description |
Req |
Notes |
|
|
--Simplified Electrical System - |
|
| RefNbr |
Part Number |
Description |
Req |
Notes |
|
|
HEPA Housing Assembly - 225-1014 |
|
| RefNbr |
Part Number |
Description |
Req |
Notes |
| 2 |
225-0563 |
HEPA filter keeper |
1 |
|
| 4 |
225-0564 |
HEPA filter housing |
1 |
|
|
|
- Commonly Asked For Parts - 225-9993 |
|
| RefNbr |
Part Number |
Description |
Req |
Notes |
| 1 |
172-2913 |
5 inch drain tool |
|
|
| 2 |
225-0003 |
Deck brush (blue) (brush only) |
|
|
| 3 |
225-0004 |
Window squeegee |
|
|
| 5 |
225-0006 |
Brush handle - HANDLE ONLY |
|
|
| 6 |
225-0011 |
Electrical box and chemical line assembly (2 2-way switches) |
|
|
| 8 |
225-0017 |
14 1/2 inch squeegee tool with wheels |
|
|
| 9 |
225-0018 |
Aluminum vacuum wand (2 piece) |
|
|
| 10 |
225-0037 |
Metering tip pack |
|
(metering tip package includes 2 of each colored metering tip, a chemical cap, plastic safety cap, and allen wrench) |
| 11 |
225-0043 |
Drain hose assembly |
|
|
| 12a |
225-0173 |
Spray gun assembly with 1/32 inch nozzle |
|
(OEM) |
| 12b |
991-3023 |
Spray gun assembly with 1/32 inch nozzle |
1 |
(NON-OEM) |
| 14 |
225-0336 |
Kai-grouter tool |
|
|
| 15 |
225-0339 |
75 foot x 3/8 inch pressure hose assembly |
|
(OEM) |
| 16 |
991-7131 |
75 foot x 1/4 inch pressure hose assembly |
|
(NON-OEM) |
| 17 |
225-0385 |
500PSI pump and motor assembly |
|
|
| 18 |
225-0388 |
120V 3 stage vacuum motor with inlet tube and gasket |
|
(this now comes with a new float that has to be replace the existing float to maintain warranty. Remove the vacuum tank lid, then unscrew existing float - cylindrical wire mesh hanging from top and inside vacuum tank - Screw in the new float provided until snug) |
| 19 |
225-0391 |
Bottom plate (OBSOLETE) |
|
|
| 20 |
225-0020 |
50 foot extension cord with GFCI (yellow) |
|
|
|
|
- Frequently Replaced Parts - 999-5028 |
|
| RefNbr |
Part Number |
Description |
Req |
Notes |
| 1 |
225-0375 |
12/3 pigtail cord with plug 22 inch |
|
(OEM) |
| 2 |
991-5010 |
12/3 extension cord 100 foot with twist lock (yellow)(OBS) |
|
(NON-OEM) |
| 3 |
225-0020 |
50 foot extension cord with GFCI (yellow) |
|
|
| 5 |
225-0072 |
Rocker switch |
|
(2) (vacuum and pump) |
| 6 |
225-0388 |
120V 3 stage vacuum motor with inlet tube and gasket |
|
(This now comes with a new float that has to be replace the existing float to maintain warranty. Remove the vacuum tank lid, then unscrew existing float - cylindrical wire mesh hanging from top and inside vacuum tank - Screw in the new float provided until snug) (OEM) |
| 7 |
991-1213 |
120V 3 stage vacuum motor tangential |
|
(NON-OEM) |
| 8 |
225-0385 |
500PSI pump and motor assembly |
|
|
| 9 |
225-0076 |
3 way chemical valve with knob |
|
|
| 10 |
225-0331 |
Water line filter |
|
|
| 11 |
225-0049 |
Float shut off assembly |
|
|
| 12 |
225-0255 |
5 inch caster wheel |
|
|
| 13 |
225-0022 |
10 inch pneumatic wheel with 5/8 hub |
|
|
| 14 |
225-0354 |
6 inch tank lid (black) |
|
|
| 15 |
225-0043 |
Drain hose assembly |
|
|
| 16a |
225-0339 |
75 foot x 3/8 inch pressure hose assembly |
|
(OEM) |
| 16b |
991-7131 |
75 foot x 1/4 inch pressure hose assembly |
|
(NON-OEM) |
| 17a |
225-0173 |
Spray gun assembly with 1/32 inch nozzle |
|
(OEM) |
| 17b |
991-3023 |
Spray gun assembly with 1/32 inch nozzle |
1 |
(NON-OEM) |
| 18a |
225-0416 |
40 foot vacuum hose |
|
(OEM) |
| 18b |
991-7133 |
40 foot vacuum hose |
|
(NON-OEM) |
| 19 |
225-0018 |
Aluminum vacuum wand (2 piece) |
|
|
| 20 |
225-0017 |
14 1/2 inch squeegee tool with wheels |
|
|
| 21 |
225-0336 |
Kai-grouter tool |
|
|
| 22 |
225-0006 |
Brush handle - HANDLE ONLY |
|
|
|
|